| Автор |
Сообщение |
|
|
Дата: 15 Авг 2024 15:17:07
#
мультиметром прямо у микросхеме нужно мерить, она питается из какого-то стабилизатора.
И осциллографом мерить импульсы на проводах к ЖК. По размаху должны быть как питание микросхемы.
|
|
|
Дата: 17 Авг 2024 13:34:04
#
Понятно. Спасибо.
|
|
|
Дата: 19 Сен 2024 21:06:18 · Поправил: oceanboy (19 Сен 2024 21:14:02)
#
|
|
|
Дата: 20 Сен 2024 20:23:38
#
Privet, ya pishu na angliskom, eto xorosho dlya Vas?
My girlfriend from Tver ( Тверь ) will fly to me ( in Germany ) end of next week.
20 October she will fly back to R.F. ( via Moscow - by train further to Tver ).
I want: 20.000 Rubel. Plus you have to pay for: Russian Post office: From Tver to your City.
Maybe, if you are from Moscow - you can meet my girlfriend?
How to pay? To the Bank-Card from my girlfriend - or to her son.
I will make Video about Radio. Video will upload to Youtube.
|
|
|
Дата: 20 Сен 2024 20:33:03 · Поправил: oceanboy (20 Сен 2024 20:37:49)
#
К сожалению, Р.Ф. изолирован. Почта невозможна. Перевод денег невозможен. Самолет Москва - Франкфурт невозможен. Проходит через Стамбул (Блин). Я думаю, что у вас есть уникальный шанс получить это радио. Никаких таможенных расходов. Нет международной стоимости доставки.
Дальше. У меня есть много деталей для Grundig Satellit 208 210 (транзистор 6000, 6001) Может быть, кому что-то нужно? Моя девушка может принести.
|
|
|
Дата: 20 Сен 2024 21:02:43
#
Welche Teile fur den Grundig sind vorhanden?
Ich sende regelmaeszig Postsendungen aus RUS nach GER mit Privatware, keine Handelsware. Geht ca 2 Wochen. In der russ. Botschaft in Berlin gibt es eine Postfiliale der russischen Post, falls die deutsche Post nicht will. In Rostock gibts keine Probleme.
|
|
|
Дата: 22 Сен 2024 13:15:23
#
Дорогие люди. Мне нелегко сказать - Что я должен сказать. Я забыл, что это радио было на платформе покупки и продажи в Интернете. Вчера радио было продано. Мне жаль. Хотелось бы порадовать радиолюбителей России. Извините. Но лучше сказать кислую правду, чем сладкую ложь. Что я могу предложить: напишите мне, кому что-то нужно из Германии?
Iz-za Grundig, budu otpovit Foto skoro.
|
|
|
Дата: 18 Сен 2025 21:38:36
#
В скором времени стану обладателем сего девайса. Начал изучать схему, но не понимаю как устроен АМ детектор. Хайо, проясните пожалуйста ситуацию. )
|
|
|
Дата: 19 Сен 2025 00:11:22
#
autosat
а схему конкретного приёмника можно? Помню там разные были варианты.
|
|
|
Дата: 19 Сен 2025 06:31:14
#
|
|
|
Дата: 19 Сен 2025 11:46:51
#
autosat
ПЧ сигнал через 22пФ (странный номинал на этом месте) приходит к IC601 который очевидно комбинированный АМ/АМ-SYNC-SSB узел и детектор. Что там внутри - хз.
Проблематично тут пьезокристалл с большим ТКЧ. Но зато ГУН тут отдельная схема и есть возможность его термокомпенсации. Это улучшало бы удержание частоты при глубоком фединге АМ-сигнала.
Узел тут тем не хорош, что повторяли ошибку схемы Океанов)))
Вроде правильно разделили АМ-демодуляцию от АРУ-детектирования. Но грузили один и тот же ПЧ-выход микросхемы.
Диодный АРУ-детектор нагружает ПЧ-выход импульсами выпрямления и поэтому искажения лучше -30...-40 дБ не сделать на АМ-аудио, хоть самый супер-АМ-детектор поставь.
|
|
|
Дата: 19 Сен 2025 12:01:48
#
Диодный АРУ-детектор нагружает ПЧ-выход
Можно что нибудь придумать для устранения этого?
|
|
|
Дата: 19 Сен 2025 12:19:48
#
|
|
|
Дата: 19 Сен 2025 14:27:04
#
autosat
значит, на выходе IQ-сигналы и в схеме приёмника потом их сложение по фазе на какой то гибридной микросхеме.
Что касается разделение каналов АРУ и АМ-демодулятора - заменить на Д311 и прибавить резисторы для снижения импульсной нагрузки. Это малой кровью так. К сожалению, АРУ-детектор сложным сделали ещё двухполярным выходом, поэтому только буферный усилитель там решит задачу.
|
|
|
Дата: 19 Сен 2025 14:35:44
#
|
|
|
Дата: 19 Сен 2025 15:23:51 · Поправил: vasya pelengator (19 Сен 2025 15:45:41)
#
К сожалению, АРУ-детектор сложным сделали ещё двухполярным выходом, поэтому только буферный усилитель там решит задачу.
Всё по даташиту, почти, это просто LA1205:
 Увеличить
И там не надо ничего менять.
Конденсатор 22 пФ... небольшая ёмкость очевидно для уменьшения влияния на выходной контур ПЧ, да и рассматривать его надо в связке с L9.
...искажения лучше -30...-40 дБ не сделать на АМ-аудио, хоть самый супер-АМ-детектор поставь.
Абсолютно не обоснованное утверждение, с другой стороны это древняя м/с, что предъявлять к ней высокие требования...
В даташите эти же цифры по искажениям? Или нет?
Регулируемый диодно-ёмкостный аттенюатор после фильтров 1-й ПЧ есть, не шедевр, но помочь может.
Д311... ну да, выкинуть плату синхродетектора и поставить каскад УПЧ с диодным детектором из Океана )
Будет проще и лучше...
Ведь иначе надо обладать уровнем и опытом реальных работ по синхронному приёму, например, как в своё время В.Т. Поляков, иначе чего-то там подкрутил по даташиту... чего-то там получилось и т.п.
Я раньше посмотрел схему этого приёмника, подумал... и не стал покупать его, это в 80-е крутизна была.
Ну покажите мне хоть одну измененную самодельщиками модель PLL Сони, Панасоника, Грюндига, которые действительно стали лучше по приёму? |
|
|
Дата: 19 Сен 2025 15:52:26
#
Предлагают неисправный аппарат с такими симптомами:
Радио включается, но ни одна из кнопок не реагирует. Работает только кнопка проверки батареи. Когда радио включено, слышен шум и громкость то повышается, то понижается.
 Увеличить
Какова вероятность дефекта МК? |
|
|
Дата: 19 Сен 2025 15:56:57 · Поправил: autosat (19 Сен 2025 15:59:22)
#
vasya pelengator
Ну покажите мне хоть одну измененную самодельщиками модель PLL Сони, Панасоника, Грюндига, которые действительно стали лучше по приёму?
Sony ICF-2010/2001D, мод от Хайо по предотвращению искривления АЧХ от действия АРУ.
Всё по даташиту, почти, это просто LA1205
Поделитесь документом.
|
|
|
Дата: 19 Сен 2025 16:45:36 · Поправил: vasya pelengator (19 Сен 2025 16:50:50)
#
Sony ICF-2010/2001D, мод от Хайо по предотвращению искривления АЧХ от действия АРУ.
Да, уж, мод...
Формально можно придраться к чему угодно... обычное дело.
Но, Хайо не знал как ту АРУ на заводе подстроечником выставляли... ну это правильно, у всех свои тонкости и их никто не афиширует, ни тогда, ни сейчас.
Два фильтра, первый полностью согласован и его согласование почти неизменно.
У второго фильтра при возрастании сигнала уменьшается сопротивление нагрузки... да примитивным образом, но это бытовой приёмник. Что будет при уменьшении Rн... думайте сами. Больше минусов или плюсов... тоже думайте сами.
Могли бы в Сони обеспечить постоянное Rн второму фильтру и сделать АРУ на полевике или после него... конечно, могли.
По сути, это называется "дискредитировать оппонента в глазах общественности", это легко обычно получается в малограмотной среде, в данном случае оппонентом был 2001D. Обычное дело.
|
|
|
Дата: 19 Сен 2025 17:05:41
#
vasya pelengator
Могли бы в Сони обеспечить постоянное Rн второму фильтру и сделать АРУ на полевике или после него... конечно, могли.
Это сделал Хайо. Вы отрицаете то, что этот мод улучшил параметры приёмника?
|
|
|
Дата: 19 Сен 2025 17:20:39 · Поправил: vasya pelengator (19 Сен 2025 20:16:36)
#
Я своё мнение высказал.
Если будет реальная проверка двух приёмников, оба полностью настроены, один с модификацией Хайо... и сравнение работы в реальном эфире, снято грамотно на видео... у разных людей... и модификация Хайо улучшит приём... тогда, я скажу что это правильная и нужная модернизация.
Всё остальное напоминает "В гостях у сказки по приборам" или как из мухи делать слона, одного за другим...
На этом всё, со старым "модом"...
P.S.: Старый "мод" устарел, теперь уже новый появился: речь об импульсах цепи АРУ, при выпрямлении ПЧ-напряжения, которые сильно влияют на выход ПЧ м/с... Несмотря на снятие сигнала с вторичной обмотки выходного контура ПЧ через 3,3 кОм... Можно только посочувствовать этому выходу ПЧ. Для АРУ нужен буфер... и тогда приёмник заиграет новой красотой звучания... Серьёзно.
Понимаю, раньше люди тёмные были, в даташите вообще сигнал для АРУ снимали с выхода диодного АМ-детектора и через 10 кОм на ёмкость 47 мкФ, а смещение 0,7 В подавали на "холодный" конец контура ПЧ. Вообщем не было Hi-Fi на АМ тогда, ничего не звучало нормально...
Но... пришло время "модов", так бывает, тоже обычное дело.
|
|
|
Дата: 19 Сен 2025 17:31:19
#
Если будет реальная проверка двух приёмников, оба полностью настроены, один с модификацией Хайо... и сравнение работы в реальном эфире, снято грамотно на видео... у разных людей... и модификация Хайо улучшит приём... тогда, я кажу что это правильная и нужная модернизация.
Приёмник приедет в январе, специально для Вас сделаю видео с экрана АЧХ-метра.
|
|
|
Дата: 19 Сен 2025 20:28:16
#
vasya pelengator
Серьёзно.
Вы лучше посоветуйте по этому поводу |
|
|
Дата: 19 Сен 2025 22:30:25 · Поправил: Хайо (19 Сен 2025 22:46:23)
#
vasya pelengator
можно установить супер-АМ-демодулятор и он не может выдать идеальный аудиосигнал, если он получает сигнал из общей линии, на которой висит диодный АРУ-детектор. Я этим мучился в Океанах и в итоге выкинул эти АРУ-детекторы и заменил на активные с полевым транзистором.
Д311 я предлагал установить в АРУ-детекторе, так как они позволят увеличит номиналы последовательных резисторов и снизить ток выпрямительных импульсов на линии.
Делать подачу ПЧ-сигнала через 22 пФ к микросхеме - плохое решение по шумам и помехам. Если нужна малая амплитуда, брать с полного размаха через емкостной делитель и его оставить частью резонансного контура. Кстати, в даташите на одном из входов поставили 22пФ к массе. Смысл не совсем понятен, наверно это должно было быть с некоторым резистором коррекция по фазе для корректной IQ-фазировки. Но ни в даташите , ни в схеме приёмника это показан по уму.
autosat
насчёт буферного усилителя - можно делать АРУ-детектор более высокоомным , чтобы он меньшем током сработал и усиление делать на постоянном токе с операционном усилителе , медленный с малым током потребления. Но этим стоит заниматься, когда радиотракт работает чисто без искривлений при АРУ.
Ещё смотрел после УКВ-смесителя ставили к ПКФ резистор 330 Ом параллельно. Это пахнет нехорошей АЧХ, нужно смотреть соотношение витков в LC-фильтре на коллекторе смесителя. Этот вопрос я разъяснил в РАДИО 2016-1 для ТА7358 в PL-660. В самом счастливом случае достаточно увеличить номинал резистора до 360...390 Ом, чтобы не было острых бугров в АЧХ с локальным грубым нарушением ФЧХ.
Кварцфильтр 55845 требует упорядочения, они очень капризны к плавающим параметрам согласования и особо плохо , когда это зависит от работы АРУ. Вся продвинутая радиолитература 1970их об этом гласила, и тут - на Вам сводный игнор мейд инн японии.
В целом приёмник хороший, но он сделан уже с резким давлением на бюджет, это уже не категория "качество за любую цену".
Мне особо понравилась идея в ФАПЧ, где работают два ГУН с шагом 25 и 26 кГц для получения шага 1 кГц при большой частоте сравнения. Потенциально это даст снижение шума гетеродина. В более новых приёмниках это всего 2 кГц и вызывает все известные проблемы в поведении ФАПЧ. Однако, не смот окончательно выявить арифметику в ФАПЧ, там они допустили некоторую кривизну. Может с приходом приёмника удастся разобраться в этом.
|
|
|
Дата: 19 Сен 2025 22:53:52
#
vasya pelengator
самое не хорошее с АРУ-импульсами от диодов это то, что они не просто слышны на ПЧ-гармониках (известные помехи в СВ-приёмниках на частотах кратны ПЧ. Это можно было сгладить полосовым фильтром к АМ-демодулятору. Это вызывает IM3 , хотя выход УПЧ сам по себе отдаст чистый токовый сигнал от коллектора. И этот IM3-спектр в модуляции подаётся на продвинутую синхро-микросхему и вылазит в аудио как гармоники по модуляции.
Эту недоделку видим во многих приёмниках.
|
|
|
Дата: 19 Сен 2025 23:53:25 · Поправил: vasya pelengator (19 Сен 2025 23:57:47)
#
Хайо
Импульсы значит...
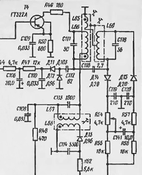
Нет, эту недоделку:
 Увеличить
мы не видим во всех приёмниках, только в Океане-209 и подобных.
Ага, удвоитель напряжения подключенный напрямую к контуру ПЧ сравниваем с LA1205 в 2001D.
Пожалуйста, сравнивайте сколько хотите, но с этим не ко мне. |
|
|
Дата: 20 Сен 2025 00:32:27
#
vasya pelengator
смотрите схему внимательно, ровно тот же принцип.
|
|
|
Дата: 20 Сен 2025 01:11:36
#
Хайо
Принцип имеет отличия, удвоитель подключенный напрямую к контуру через ёмкость и снятие сигнала с обмотки связи через сопротивление, ну и смещение 0,7 В через второй диод. Разная степень влияния, разные искажения...
Искажения в LA1205 не -30...-40 дБ, это вы смотрите внимательно... а я не привык такие поспешные выводы делать.
Около -50 дБ уже ближе к реальности, но для этого приёмника и -45 дБ достаточно в АМ тракте.
|
|
|
Дата: 20 Сен 2025 02:26:20
#
vasya pelengator
Схемы имеют отличия, но принцип ровно тот же. От одной выходной линии (коллектор в УПЧ) последовательно стоят контуры 10700 и 455(465)кГц. В SONY к выпрямителю идёт только 455 кГц.
Как бы на выходе не использовались постоянные напряжения, суть для выпрямителя не меняется, в обеих схемах с каждой полуволной один диод срабатывает, когда сигнал солидный. В обеих схемах диоды при выпрямительном импульсе ведут себя нелинейно и это образует IM3 и колебательные фильтры или даже полосовые фильтры это не устраняют. Всё я макетировал и перепробовал - это никак не убрать, можно только немного смягчить и Д311 для этого хорошая находка (нужно на R42 ещё ставить диод типа 4148 тогда). Но устранить IM3 на коллекторе УПЧ не получается и она поступает в АМ-демодулятор, который её переносит в аудиоспектр. Не АМ-демодулятор искажает.
В Океан-209 интересная особенность. При слабом сигнале диоды работают в существенном прямом смещении и только существенный сигнал их выводит в выпрямление и обратное смещение. В SONY диоды сначала без тока.
|
|
|
Дата: 20 Сен 2025 04:16:29 · Поправил: autosat (20 Сен 2025 04:47:51)
#
vasya pelengator
P.S.: Старый "мод" устарел, теперь уже новый появился: речь об импульсах цепи АРУ, при выпрямлении ПЧ-напряжения, которые сильно влияют на выход ПЧ м/с... Несмотря на снятие сигнала с вторичной обмотки выходного контура ПЧ через 3,3 кОм... Можно только посочувствовать этому выходу ПЧ. Для АРУ нужен буфер... и тогда приёмник заиграет новой красотой звучания... Серьёзно.
Как прокомментируете это решение?
 Увеличить |