На главную страницу сайта
· Наш магазин · Объявления · Рейтинг · Статьи · Частоты · Копилка · Аэродромы · Live!
· Файлы · Диапазоны · Сигналы · Музей · Mods · LPD-форум · Клуб · Радиостанции
На сайте: гостей - 70,
участников - 3 [ sergsib, John79, ArtHD]
 · Начало · Опросы · События · Статистика · Поиск · Регистрация · Правила · FAQ · Галерея ·
 Форум —› Разработка, ремонт, схемы, модификации —› Океан 2хх и Selena - до 1984 года на Ge-транзисторах 
Си-Би радиостанции в нашем магазине: Alan и Midland, Alinco, Intek, MegaJet, President, Yosan, Беркут, Таис


Alan 48 Excel
руб.

Alinco DR-135CBA New
руб.

MegaJet MJ-3031M Turbo
руб.

President Harry III ASC
руб.

Yosan Stealth 5
руб.
 Страница:  ««  1  2  ...  11  12  13  14  15  ...  99  100  »»Поиск в теме
Автор Сообщение
Хайо
Участник
Offline3.1
с дек 2015
Оренбург
Сообщений: 21055

Дата: 23 Апр 2018 19:29:30 · Поправил: Хайо (23 Апр 2018 19:34:34) #  

провёл некоторые испытания с детекторами для АМ на Д311 - на Д9 результаты хуже на 3...6 дБ на 465 кГц.
Для имитации LC-контура испльзовал делтель на 2х12 кОм, который образует резистоивно 6 кОм, что примерно соответствует реальному Z последнего УПЧ и LC-контура с полосой 30 кГц.

При работе диода на нагрузку 680пФ и 10 МОм судя по переходным прцессам с импульсной АМ и 4В размаха к диоду конденсатор вилит при росте импеданс 30 кОм, а при спаде около 150 кОм. Т.е. диод имеет 25 кОМ и 145 кОм при росте/спаде сигнала в ритме модуляции.

Подключил к выходу 18 кОм. Соответственно детекто стал "быстрее" для модуляции. Искажения при 1 кГц и m=50% составляли -30%. Это и совпадает с моими замерами готового приёмника. При АМ искажения 3% в заводской схеме "запрограммированы".

Поменял на детектор "удвоитель" , 240пФ от 6кОм источника к диодам и на выходе тот же 680пФ и 18 кОм. Искажения -43дб, т.е. в 4 раза лучше. При этом искажения доминируют IM2 на 10дБ выше остальных.

Считаю целесообразно, поменять в ОКЕАНах детекторы на двухдиодных. Это также убирает на коллекторе УПЧ несимметричную нагрузку и это снизит фонирование на 930 кГц.

Пробовал ГД508 как высокоомный детектор - он хуже Д9В в целом, особенно на 10 МГц.
alexbe
Участник
Offline3.5
с мар 2008
Москва
Сообщений: 782

Дата: 24 Апр 2018 21:31:33 · Поправил: alexbe (24 Апр 2018 23:11:39) #  

240 пф, диод вземлю, диод в нагрузку, в нагрузке 18 К и 680 пФ, и все?

сразу вопрос, пробовали ли Т-звено на 3 резисторах, и второй конденсатор фильтрации следом? (как в Океан 201)

Как раз тут недавно Simon выкладывал книгу, в которой расписано, зачем Т-звено (все дело что есть еще один конденсатор до регулятора громкости, и он вносит искажения)

т.е. когда параллельно 18К регулятор 100к - нормально, а когда через конденсатор 5-10мкф, регулятор 10К - тогда ставят Т-звено.
Хайо
Участник
Offline3.1
с дек 2015
Оренбург
Сообщений: 21055

Дата: 25 Апр 2018 06:05:19 #  

суть Т-звена - убрать от диода запирющее напряжение от большого конденсатора. Минимальные искажения дает выпрямитель без конденсатора.
Надо компромиссом обеспечить к конденсатору одинаковые импедансы при зарядке/разрядке и брать частоты среза примерно 30...60 кГц. Это даст -43дб искажения в ОКЕАНах вместо -30.
Хайо
Участник
Offline3.1
с дек 2015
Оренбург
Сообщений: 21055

Дата: 25 Апр 2018 09:46:27 #  

alexbe
240 пф, диод вземлю, диод в нагрузку, в нагрузке 18 К и 680 пФ, и все
по большому счёту да. Это конечно не обеспечивает сглаживание 465кГц, но исключает искажения от зависания напряжения при спадающем склоне модуляции на уровне -43дБ по модуляции. Самый эффективный вариант в практической схеме - не ставить 18кОм тупо на GND, а 12 кОм последовательно и 6,8 кОм потом к GND и к нему уже конденсатор 2,2 нФ.
alexbe
Участник
Offline3.5
с мар 2008
Москва
Сообщений: 782

Дата: 25 Апр 2018 14:35:09 · Поправил: alexbe (25 Апр 2018 15:01:34) #  

Хайо
пересматиривал схемы, отечественные и импортные.
сотни схем, и взеде 1 диод.

какие могут быть аргументы за?

я так понимаю что нагрузка контура и УПЧ при двухполупериодном уменьшается. но это мы компенсируем большим нагрузочным резистором. неужели дело в том что старые точечные диоды в массе могут попадаться с малым обратным сопротивлением?
Хайо
Участник
Offline3.1
с дек 2015
Оренбург
Сообщений: 21055

Дата: 25 Апр 2018 18:02:21 #  

какие могут быть аргументы за?
аргумент инженера, но победит коммерсант.

У точечных диодов обратный ток относительный большой и он не мешает для АМ-радио, если соотношение вперед-назад 1:10 по имедансу. Другое дело, если измертельный зонд. Задачи разные, а в литературе это редко различают, перемешивают требования, преимущества и недостатки.

Детектор на двух диодах при правильном составлении вызывает на контуре симметричное срезание пиков синуса, примерно как слабый ограничитель. Это означает, что подавляются в нелинейном процессе чётные гармоники.
alexbe
Участник
Offline3.5
с мар 2008
Москва
Сообщений: 782

Дата: 25 Апр 2018 18:20:16 · Поправил: alexbe (25 Апр 2018 20:53:36) #  

но победит коммерсант.
далеко не всегда и не везде экономили детали.

те же B&O, схемы которых полезно поизучать, и в части УНЧ на германии, и в части океаноподобных приемников, не экономили, это видно.
Вот, раз уж речь зашла, их топовыйBeolit 1000

не в смысле что это "высшее достижение", Океан может и поинтереснее, но у B&O и в схемах нестандартные ходы. могут пригодиться
Или вот Как сделан УПЧ ЧМ - катушки связи с коллектора на базу, то ли для линеаризации, то ли наоборот, ПОС для повышения усиления?

что интересно, двухтактные детекторы частенько видны в любительских конструкциях, а в промышленных - как под запрет попали.
Хайо
Участник
Offline3.1
с дек 2015
Оренбург
Сообщений: 21055

Дата: 25 Апр 2018 21:03:18 #  

для малых искажений требуется хорошей амплитуды от УПЧ. Многие приёмники в это слабы и поэтому бороться на искажений менее 3% просто нечем, 2ой диод не помогает. В том же Beolit1000 усиления не так уж много для АМ.
Хайо
Участник
Offline3.1
с дек 2015
Оренбург
Сообщений: 21055

Дата: 25 Апр 2018 21:12:57 #  

alexbe
обратная связь - это нейтрализация ООС (емкость К-Б). Если не делать нейтрализацию, усилитель превращается в генератор. А если транзитсор слабее подключать к контурам, то усиление никакое. Это надо было делать с совсем старыми транзисторами. ГТ322 в этом уже продвинутый.
AOR
Участник
Offline5.7
с окт 2003
Сообщений: 14609

Дата: 25 Апр 2018 21:29:14 · Поправил: AOR (25 Апр 2018 21:31:15) #  

Вот, раз уж речь зашла, их топовыйBeolit 1000
Интересно. Сразу в глаза бросились контуры, где не сделан отвод от вторичного контура (автотрансформатор), как чаще всего делают, а дополнительная обмотка применена.

частенько видны в любительских конструкциях, а в промышленных - как под запрет попали.
А это скорее всего связано с % искажений на сильных сигналах, ведь другое назначение приемника.
Хайо
Участник
Offline3.1
с дек 2015
Оренбург
Сообщений: 21055

Дата: 25 Апр 2018 21:39:13 #  

alexbe
в EKD для АМ-детектирования используется известный ТВА120 , сигнал проходит жёсткое ограничение и потом в умножителе АМ-сигнал смешивается с ограниченной несущей. Искажения менее 1% легко делать, особенно, если поставить ещё фазокорректор для несущей. По энергопотреблению конечно катастрофа для бытовых приёмников...12В-20мА. Но звук хороший, у меня есть самодельный приёмник 1985года с такой схемой.
pactor
Участник
Offline2.6
с апр 2013
Санкт-Петербург
Сообщений: 657

Дата: 25 Апр 2018 21:54:08 #  

alexbe
Хайо
Листая старые журналы набрел на статью "амплитудный детектор с малыми искажениями"
Ж. Радио №1 1991 г. Скорее всего Вы ее видели, но новое - хорошо забытое старое.
Хайо
Участник
Offline3.1
с дек 2015
Оренбург
Сообщений: 21055

Дата: 25 Апр 2018 21:57:54 · Поправил: Хайо (25 Апр 2018 22:14:28) #  

а я тут ничего нового не предлагаю, так как стараюсь доработать приёмники тем, что было доступно в те годы.

pactor
отфоткать схему можно?


нашёл...
но это предлагает 2% примерно, а двухдиодный в правильной компоновке даст 0,5..0,7%, причём и при большом индексе, я мерил при 50%, что в современных ШАМ нормально. Это раньше 30% уже считалось хорошо.
pactor
Участник
Offline2.6
с апр 2013
Санкт-Петербург
Сообщений: 657

Дата: 25 Апр 2018 22:12:52 #  

Хайо
Можно. Полчасика подождите.
pactor
Участник
Offline2.6
с апр 2013
Санкт-Петербург
Сообщений: 657

Дата: 25 Апр 2018 22:29:01 #  

Хайо
Переснял. Смотрите.

То, что на графиках цыферки двоятся - это качество оригинала.
nikifor_r
Участник
Offline1.8
с июл 2008
Москва
Сообщений: 326

Дата: 25 Апр 2018 22:38:45 #  

Вот здесь лучше видно:

http://dl2kq.de/trx/2-7.htm
alexbe
Участник
Offline3.5
с мар 2008
Москва
Сообщений: 782

Дата: 25 Апр 2018 22:42:01 · Поправил: alexbe (25 Апр 2018 23:01:44) #  

pactor
помнится было обсуждение этой схемы где-то, делали ее, как и ряд подобных схем, в т.ч. из книг Полякова и журналов.. чуда не случилось.
тут в комплексе вот что: есть мощные и слабые сигналы (по несущей), есть модуляция сильная и слабая, помех больше или меньше... все эти простые схемы, в каком-то диапазоне могут чуть улучшить, в другом раскладе ухудшить.

тут надо или филигранно расчитывать классику (как Хайо выше),
или городить сложные схемы на идеальных диодах, фильтрах высокого порядка и т.п. на высокочастотных ОУ (моделирующих идеальную классику).


Хайо
Но звук хороший, у меня есть самодельный приёмник 1985года с такой схемой.
на мощном и чистом сигнале видимо все отлично. а как ведет себя при федингах и при шумах-помехах? если станция на грани слышимости?

Тоже читал, делали всякие смесительные синхронные, и с захватом, и с ограничением, и хотя результаты для качественных сигналов можно получить отличные, в пограничной зоне качества (ДХ) начинаются проблемы, которых нет у классики. поскольку фединг - это и дрейф амплитуды (и падение сигнал/шум), и также фазы и частоты. ограничитель спотыкается о первое, захват несущей - о второе. вроде писали так.
alexbe
Участник
Offline3.5
с мар 2008
Москва
Сообщений: 782

Дата: 25 Апр 2018 23:46:15 #  

Хайо
с чем связано соотношение 240пФ на входе и 680пФ в нагрузке? на что повлияет, если сделать 680 и 680, или 6800 и 680?
Хайо
Участник
Offline3.1
с дек 2015
Оренбург
Сообщений: 21055

Дата: 26 Апр 2018 06:36:51 #  

alexbe
самый хороший детектор, который я в живом слушал - SYNC на PL-660 в доработанном виде.
На ТВА120 всё хорошо до фейдинга -20дБ по несущей когда сигнал нормальный. На слабом сигнале нет разницы к диодному, может, диодный даже лучше.

емкости в детекторе надо расчитать с некоторых ракурсов и потом подобрать оптимум. На выходе конденсатор надо подобрать для частоты среза 30...60 кГц - это геомертическая сеердина между 465 кгЦ и 7...10 кГц , как предел модуляции современных ШАМ.

Соответственно, на 30...60 кГц нужны 15...7 синус-волн на ПЧ и соответственно конденсато к диодам подобрать можно в 3...2 раза меньше, чем "сглаживающий, чтобы тот успел вседа доходить до полного напряжения. А полное сглаживание делать уже подальше от диодов , чтобы им не мешать.
Simon
Участник
Offline4.0
с янв 2013
Питер
Сообщений: 5486

Дата: 26 Апр 2018 20:39:08 · Поправил: Simon (26 Апр 2018 20:55:21) #  

pactor
alexbe
Хайо
А вот такой симбиоз АМ Детектора, не пробовали...!??

По заявлению авторов,очень линейный и чувствителен.
Для нашего варианта (односекционная катушка детектора), очень да же подходит.
Останется только нижнюю часть катушки от земли отвязать, и поменять транзисторы на р-n-р , для 209-го.
Ранее предлагали такой вариант;

Но по сути, это то же самое.
Хайо
Участник
Offline3.1
с дек 2015
Оренбург
Сообщений: 21055

Дата: 26 Апр 2018 21:36:40 #  

если делать ещё один модуль - АМ-детектор..... смеситель уже есть.... наверно пора делать вообще новую плату)))

Но вроде -43дБ для АМ - это уже хорошо, тем более, что от доработок усиления в тракте будет нормально для Д311А в детекторе. ВЫходной контур всёравно работает с добротностью 10...15 и не участвует в избирательности, диодный детектор ему не проблемная нагрузка. Дополнительный диод+конд легко поместятся и в -214 и в -209ые.
Хайо
Участник
Offline3.1
с дек 2015
Оренбург
Сообщений: 21055

Дата: 26 Апр 2018 21:39:00 #  

Simon
если общий эмиттерный резистор дополнять последовательно с ПТ (2N7002) и на него подать КМОП-BFO, то получается хороший SSB-детектор.
pactor
Участник
Offline2.6
с апр 2013
Санкт-Петербург
Сообщений: 657

Дата: 26 Апр 2018 22:28:59 #  

Хайо
Что-то переклинило меня.
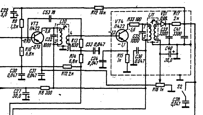
Вот детектор Спидолы 232:


вот тоже в Океане 214:


а вот в России 304:


Вопрос зачем такое включение (R16) контура детектора?
sibirier
Участник
Offline3.3
с мая 2010
Юг Подмосковья
Сообщений: 1935

Дата: 26 Апр 2018 22:51:44 #  

pactor
Это схемное решение встречается начиная с приёмника "Спорт-2", было такое-же подобное и в "Сокол-4","Россия-301".
С помощью резистора, включенного в цепь эмиттера транзистора VT3 при настройке приёмника подбирается оптимальное напряжение смещения на диоде детектора с целью получения минимального коэффициента нелинейных искажений при наибольшем коэффициенте передачи детектора.
nikifor_r
Участник
Offline1.8
с июл 2008
Москва
Сообщений: 326

Дата: 26 Апр 2018 22:54:05 #  

Во всех Соколах так сделано. Это часть схемы АРУ.
pactor
Участник
Offline2.6
с апр 2013
Санкт-Петербург
Сообщений: 657

Дата: 26 Апр 2018 23:06:26 #  

nikifor_r
Не совсем так. Для России система АРУ эти R12 и С29.
pactor
Участник
Offline2.6
с апр 2013
Санкт-Петербург
Сообщений: 657

Дата: 26 Апр 2018 23:10:35 #  

sibirier
напряжение смещения на диоде детектора с целью получения минимального коэффициента нелинейных искажений
Тоже думаю в эту сторону. Но если так сделано в 3-м классе, почему этого нет во 2-м?
Схемы практически идентичны кроме этого момента. И диоды Д9.
sibirier
Участник
Offline3.3
с мая 2010
Юг Подмосковья
Сообщений: 1935

Дата: 26 Апр 2018 23:15:02 #  

Для АРУ используется постоянная составляющая тока диода детектора , с помощью которой регулируется базовый ток каскада усилителя ПЧ. При этом напряжение смещения диода в прямом направлении компенсируется напряжением, возникающем на части резистора R16, которая от движка до общего провода, через которую протекает также и ток эмиттера VT3. Такая схема обеспечивает надёжную работу АРУ и всего тракта ПЧ, не ухудшая чувствительности приёмника. Детектор начинает работать уже при самых малых сигналах, когда напряжение смещения на диоде равно нулю. В некоторых приёмниках с подобной схемой нет подстроечного резистора, R16 сразу разделён на два постоянных резистора.
sibirier
Участник
Offline3.3
с мая 2010
Юг Подмосковья
Сообщений: 1935

Дата: 26 Апр 2018 23:22:09 #  

В приёмниках 2-го и 1-го класса АРУ более сложная, с отдельным усилителем АРУ, с "эстафетой" срабатывания АРУ покаскадно. При этом всегда используется напряжение с выхода УПЧ с детектора, часто детектор АРУ на отдельном диоде/транзисторе.
sibirier
Участник
Offline3.3
с мая 2010
Юг Подмосковья
Сообщений: 1935

Дата: 26 Апр 2018 23:25:44 · Поправил: sibirier (26 Апр 2018 23:54:46) #  

Для России система АРУ эти R12 и С29.
Так и в России АРУ это не только R12 и С29.
Это часть схемы АРУ.
В Спидоле-232 АРУ действует и на Т1 и на Т4, при разных уровнях сигнала по-разному, для части схемы АРУ применяется отдельный диод, напряжение для АРУ берётся по-другому чем в Океанах,тоже с коллекторной нагрузки последнего каскада ПЧ.
 Страница:  ««  1  2  ...  11  12  13  14  15  ...  99  100  »» 

Создавать сообщения могут только зарегистрированные участники форума.
Войти в форум :: » Логин » Пароль
Начало
Средства связи, рации. Купить радиостанции Motorola, Yaesu, Vertex, приемники, антенны.
Время загрузки страницы (сек.): 0.068; miniBB®